五、缠绕机
缠绕机是实现缠绕成型工艺的主要设备,对缠绕机的要求:①能够实现制品设计的缠绕规律和排纱准确;②操作简便;③生产效率高;④设备成本低等。
缠绕机主要由芯模驱动和绕丝嘴驱动两大部分组成。为了消除绕丝嘴反向运动时纤维松线,保持张力稳定及在封头或锥形缠绕制品纱带布置精确,实现小缠绕角(5°~15°)缠绕,在缠绕机上设计有垂直芯轴方向的横向进给(伸臂)机构。为防止绕丝嘴反向运动时纱带转拧,伸臂上设有能使绕丝嘴翻转的机构。微机控制缠绕机有4~5个驱动轴,如图3-21所示。
我国20世纪60年代研制成功链条式缠绕机,70年代引进德国WE-250数控缠绕机,改进后实现国产化生产,80年代后我国引进了各种型式缠绕机40多台,经过改进后,自己设计制造成功微机控制缠绕机,并进入国际市场。
(1)机械式缠绕机类型
①绕臂式平面缠绕机(见图3-22) 其特点是绕臂(装有绕丝嘴)围绕芯模做均匀旋转运动,芯模绕自身轴线做均匀慢速转动,绕臂(即绕丝嘴)每转一周,芯模转过一个小角度。此小角度对应缠绕容器上一个纱片宽度,保证纱片在芯模上一个紧挨一个地布满容器表面。芯模快速旋转时,绕丝嘴沿垂直地面方向缓慢地上下移动,此时可实现环向缠绕,使用这种缠绕机的优点是,芯模受力均匀,机构运行平稳,排线均匀。适用于干法缠绕中小型短粗筒形容器。
![]() ②滚转式缠绕机(见图3-23) 这种缠绕机的芯模由两个摇臂支承,缠绕时芯模绕自身轴旋转,两臂同步旋转使芯模翻滚,翻滚一周,芯模自转一个与纱片宽相适应的角度,而纤维纱由固定的伸臂供给,实现平面缠绕,环向缠绕由附加装置来实现。由于滚翻动作机构不宜过大,故此类缠绕机只适用缠绕小型制品,且使用不广泛。
![]() ③卧式缠绕机(见图3-24) 这种缠绕机是由链条带动小车(绕丝嘴)做往复运动,并在封头端有瞬时停歇,芯模绕自身轴做等速旋转,调整两者速度可以实现平面缠绕、环向缠绕和螺旋缠绕,这种缠绕机构造简单,用途广泛,适宜于缠绕细长的管和容器。
④轨道式缠绕机 轨道式缠绕机分立式和卧式两种,图3-25为卧式轨道缠绕机示意图,芯模和绕丝嘴小车运行轨道均呈卧式。纱团、胶槽和绕丝嘴均装在小车上,当小车沿环形轨道绕芯模一周时,芯模自身转动一个纱片宽度,芯模轴线和水平面的夹角为平面缠绕角。α从而形成平面缠绕型,调整芯模和小车的速度可以实现环向缠绕和螺旋缠绕。轨道式缠绕机适合于生产大型制品。
![]() ![]() ⑤行星式缠绕机(见图3-26) 芯轴与水平面倾斜成。角(即缠绕角)。缠绕成型时,芯模做自转和公转两个运动,绕丝嘴固定不动。调整芯模自转和公转速度可以完成平面缠绕、环向缠绕和螺旋缠绕。芯模公转是主运动,自转为进给运动。这种缠绕机适合于生产小型制品。
⑥球形缠绕机(见图3-27) 球形缠绕机有4个运动轴,球形缠绕机的绕丝嘴转动,芯模旋转和芯模偏摆,基本上和摇臂式缠绕机相同,第四个轴运动是利用绕丝嘴步进实现纱片缠绕,减少极孔外纤维堆积,提高容器壁厚的均匀性。芯模和绕丝嘴转动,使纤维布满球体表面。芯模轴偏转运动,可以改变缠绕极孔尺寸和调节缠绕角,满足制品受力要求。
![]() ⑦电缆式纵环向缠绕机(见图3-28) 纵环向电缆式缠绕机适用于生产无封头的筒形容器和各种管道。装有纵向纱团的转环2与芯模同步旋转,并可沿芯模轴向往复运动,完成纵向纱铺放,环向纱8装在转环2两边的小车4上,当芯模转动,小车沿芯模轴向做往复运动时,完成环向纱缠绕。根据管道受力状况,可任意调整纵环向纱数量比例。
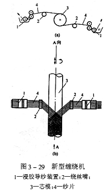
![]() ⑧新型缠管机(见图3-29) 新型缠管机与现行缠绕机的区别在于,它是靠管芯自转,并同时能沿管长方向做往复运动,完成缠绕过程。其特点是:
a.绕丝嘴和胶槽固定不动,芯模做往复、旋转运动,设备结构简单;
b.一台缠绕机上拥有多个绕丝嘴同时工作,缠绕效率高;
c.一台缠绕机上拥有几个浸胶槽,可同时使用一种或几种树脂(不同配方树脂),使内层、结构层的外表层一次完成;
d.一台缠绕机可同时生产1根或2~3根管子,生产率高;
e.生产线上有两台缠绕机,轮流交替准备缠绕和固化,生产过程不中断。
缠绕机在垂直平面内相互平行地平面装置3根管芯,由装在小车上的电动机经机头齿轮箱带动芯模旋转,使缠绕机沿管芯轴方向做往复运动,构成纤维纱在管芯上螺旋缠绕。这种缠绕机常用来生产φ25~φ500mm的各种玻璃钢管,生产φ25~φ100mm管时,每次可生产三根,生产φ125~φ250mm管时,每次可生产两根管,生产φ300~φ500mm管时,每次生产一根。使用1200tex玻璃纤维纱时,分梳排纱密度为3mm/裉,缠绕角为35.24°~54°(螺旋缠绕)。
这种新型缠绕机的优点是,绕丝嘴固定,为工人处理断头、毛丝以及看管带来很大方便;多路进纱可实现大容量进丝缠绕,缠绕速度快,布丝均匀,有利于提高产品质量和产量。
![]() (2)缠绕机控制系统 缠绕机按控制方法可分为机械式缠绕机、数字程序控制缠绕机和微机控制缠绕机三种。
①机械控制缠绕机 型式很多,而以卧式缠绕机应用最广。机械控制缠绕机的芯模被夹持在主轴上作自转运动,绕丝嘴安装在小车上,沿芯模轴线往复运动,通过调整芯模转速和绕丝嘴的运动速度(即速比)便可以实现各种线型缠绕,而速比的改变则是通过机头齿轮箱的挂轮,调节芯模主轴和小车间的机械运动来实现。
机械控制缠绕机的优点:a.结构简单,制造成本低;b.运行可靠,操作容易,维修方便;c.最适用于大批量管、筒形民用产品生产,经济实用,有着广阔的发展前途,即使是发达国家,目前仍然广泛地应用这种缠绕机。
缺点:a.速比变化时,调整齿轮和链条较麻烦,变化产品生产时,需要准备的时间过长;b.非线性缠绕精度不高,不能用于精度要求高的航天、航空制品生产。
②数字控制缠绕机 数字控制缠绕机是以电脉冲式的数字量作为控制信号,实现对芯模进角的位移量和绕丝嘴的线位移量相互关系的控制,改变分频比便可以改变小车相对于主轴的速比,从而改变缠绕角。除芯模的小车运动外,还增加了绕丝嘴的伸臂和酣转运动,可以实现非线性缠绕,克服了机械缠绕机惯性大和精度低的缺点,但数控系统没有编程运算功能,改变线型时,需要停机调整,准备工作量较大,因而不能满足更加复杂制品的缠绕要求。
③微机控制缠绕机 在微机控制缠绕机中,缠绕机的系统程序属于容易改换的计算机软件,因此,大大增加了缠绕机的灵活性和适应性,生产这种缠绕机的有美国安德逊公司(Ander-son),德国的拜尔公司(Bear)和我国武汉工业大学、哈尔滨工大等。
微机控制缠绕机除价格较贵外,优点很多:
a.增加了缠绕机的运动坐标数。机械式缠绕机只有两个基本运动,即芯模转动和小车移动。而微机控制缠绕机则增加了绕丝嘴横向运动(垂直芯模轴线),绕丝嘴自身旋转,绕丝嘴垂直于小车移动平面运动,有三个运动坐标。
b.增加计算机硬件和软件,扩大了缠绕机控制功能。一般微机控制缠绕机可以存储100个不同的缠绕程序。
c.缠绕精度高。传动机构选用精密机械,保证系统有较高的定位精度和重复定位精度,因而提高了缠绕精度和制品的重现性。微机控制缠绕机的芯模转动精度可以达到±0.0002转,小车和绕丝嘴伸臂位移精度,可达到±0.25mm。
d.自动化程度高,使用方便。微机控制缠绕机适合于精度要求高(质量、尺寸)的航空、航天制品的生产,机械控制缠绕机则适用于民用管、罐产品的生产,从目前的发展情况分析,机械控制缠绕机和微机控制缠绕机都将会长期发展和应用,而数控缠绕机已被淘汰。
(3)缠绕机辅助装置 缠绕机的辅助装置有芯模、纱架、张力器、浸胶槽和绕丝嘴等。
①纱架 缠绕机的纱架分随动式和固定式两种:随动式纱架是安装在缠绕机绕丝嘴小车上,随小车同步运动,纱架到浸胶槽的距离小,不易出现松线、打结现象,但纱架上纱团容量少;固定式纱架是安装在缠绕机的一侧或上方,纱架上纱团容量大。但因纱团距绕丝嘴小车较远,容易出现松线问题。图3-30和图3-31分别为端头引出型纱架和侧向引出型纱架示意图。
②张力器 张力器亦称收线装置,为了控制张力,需要设收线装置(见图3-32),防止螺旋缠绕返程时发生松线现象。
③浸胶槽 根据对纤维表面涂胶方式不同,浸胶槽分为沉浸式(图3-18)和胶辊接触式(图3-19),滴胶式加压或真空浸胶等。
![]() ![]() ④绕丝嘴 亦称导丝头,是缠绕机小车上的主要部件,其示意图如图3-33,绕丝嘴应能前进后退,要求能适合不同缠绕方式及不同制品形状和直径的缠绕要求。
![]() ![]() |











